Commercial Work

Below is commercially available examples of work in design, development and color created under direction and for the benefit of companies. See descriptions for details, original sources linked to photos.

Note, this selection is limited due to employment agreements, for more details on my textile, graphic, design, and product skills please view Thesis, Textiles, or Art & Craft.

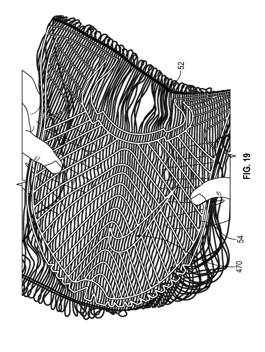
NIKE: ENGINEERED NON-WOVEN TEXTILE AND METHOD OF MANUFACTURE

US PATENT 12,516,460 B2

Patent issued January 2026 for novel footwear upper material construction.

SISTER SUMAC

Original print used in Poetry spring 2026 collection.

Sister sumac

Original print created with ochre paint used in Poetry spring 2026 collection.

Sister Sumac

Original print for The Other an American women’s wear brand. Fall 2025.

Sister Sumac

Original print for Nic and Zoe an American women’s wear brand. Fall 2025.

Sister Sumac

Original print for Sab Studio NYC an American women’s wear brand. Fall 2025.

Graphic packaging int

Project Manager for a novel child-resistant package made of recyclable paperboard. Launched via press release August 2025.

Sister Sumac

Original print for Salis a Portuguese swim brand. Print featured in bathing suits, cover ups and accessories. Summer 2025.

Sister Sumac

Original print for Marie Oliver an American women’s wear brand. Summer 2025.

Sister Sumac

Original print design created using shibori techniques with fresh and fermented indigo. Print used in Bath and Body Works resort 2024, Water Lily Springs.

Sister Sumac

Original print for Nic and Zoe an American women’s wear brand. Summer 2025.

Sister sumac

Original print sold to and altered by Chico’s. Summer 2025.

Nike X Skepta Collaboration

Innovation print and process development for 2018 footwear collaboration.

Nike Women’s Flex Experience Lotus

Innovation process development contributed to this product.

Nike Flex Experience Rn 8 Camo

Innovation process development contributed to this product.

Lands End Swim

Textile CAD and colorway development for 2015 swimwear collection.

UNIVERSITY OF CHICAGO SCHOOL MATHEMATICS PROJECT (UCSMP)

Created and modified graphics, layout and text for two books in the educational series. Precalculus & Discrete Mathematics and Functions & Statistics 3rd editions.